The patent consultancy
that actually explains
what's happening.
Built for inventors and innovators, not corporate behemoths.
Patent drafting, prosecution, and strategy — from first idea to granted patent. Legal 500 training, transparent pricing, and communication you can actually understand.

Alexander Rowley
MSc Physics · Legal 500 Trained · Patent Consultant
How It Works
From initial idea to granted patent — a clear, structured process with expert guidance at every stage. Alexander IP handles everything personally.
Services & Pricing
Every service has a clear, fixed fee — no hidden costs, no hourly billing. Most clients start with a search, then move to drafting.
Build Your Patent Drafting Package
Select the complexity of your invention, choose any optional extras, and pick a delivery timeline. Your total updates live as you configure.
Step 1 — Select your invention's complexity


Simple Invention
Mechanical inventions with few moving parts


Mid-Tier Invention
Electrical/electronic systems, moderate complexity


Complex Invention
Software, AI, biochemistry, advanced systems
Step 2 — Include what you need
Most clients add illustrations and filing. Only skip these if you can handle them yourself.
Patent Search
Prior art search included in timeline
Illustrations (Created)
Professional patent drawings
Illustrations (Formatted)
Your drawings, reformatted
Filing / Submission
Filed on your behalf
Step 3 — Choose delivery timeline
Standard
45 days
Express
30 days
Rush
21 days
Urgent
14 days
Emergency
7 days
Government patent office fees are paid by you directly to the patent office and are not included above.
Know what you need?
Get in touch with your project details and receive a response within 24–48 hours.
Patents & Applications Worldwide
A selection of granted patents and published applications drafted by Alexander IP, with PCT coverage across 155+ contracting states. Hover over any region to browse.
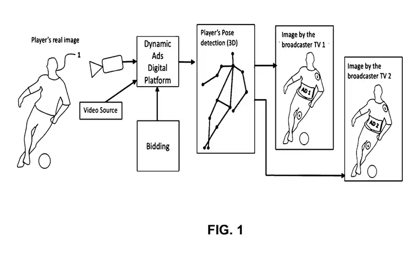
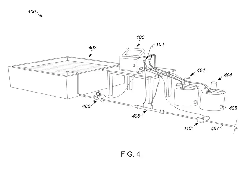
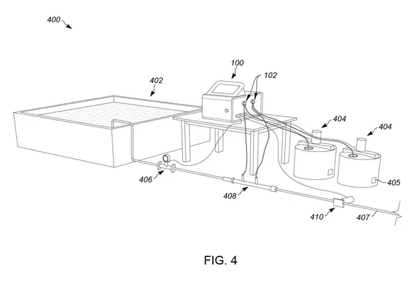
- US 11,940,361 B2
Open Water Analysis System & Vortex Filter
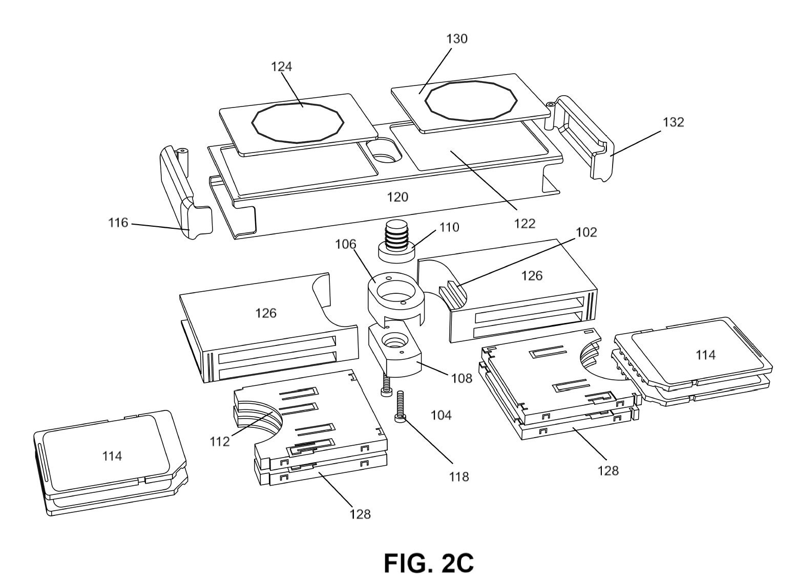
- US 12,556,844 B1
CPU & RAM Monitor
- US 12,554,272 B2
Valve Control System
- US 12,539,800 B2
Swivel Vehicle Table
- US 12,515,234 B2
Auto Cleaning Sprayer
- US 12,503,005 B2
Split-Load EV Chassis
- US 12,433,360 B1
Dual-Layer Elastic Belt
- US 12,404,623 B2
Vehicle Camera Cover
- US 12,381,417 B2
Nano Inductance Cells
- US 12,354,583 B2
Voice Isolation Mask
- US 12,349,766 B2
Cleated Shoe Cover
- US 12,318,654 B2
Exercise Handle
- US 12,277,273 B2
Haptic Device
- US 12,236,923 B2
Music Production Device
- US 12,213,474 B2
Bait Station
- US 12,189,040 B2
Bicycle Handlebar Grip
- US 12,121,131 B1
Dispensing Stick
- US 11,937,591 B1
Fishing Rod Feeder
- US 11,839,788 B2
Resistance Exercise Anchor
- US 11,836,570 B1
Machine-Readable Labels
- US 11,833,384 B2
Resistance Bands
- US 11,483,078 B1
ULF Communications
- US 10,878,232 B2
Invoice Automation
- US 2026/0018000 A1
Smart Package Pod
- US 2026/0052163 A1
Cybersecurity Honeypot
- US 2024/270289 A1
Gondola Transport System
- US 2025/191492 A1
VR Medical Training
- US 2025/256054 A1
Baby Patting Device
- US 2025/366786 A1
Health Monitoring Diaper
- US 2026/0021372 A1
Snowboard Boot Stabilizer
- US 2025/314123 A1
Cat Gate System
- US 2023/211133 A1
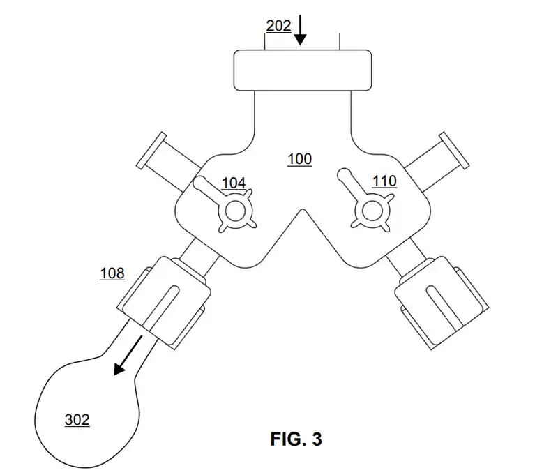
Dual Stopcock
- US 2025/380670 A1
Smart Pet Collar
- US 2026/0033674 A1
Cutting Board
- US 2026/0050739 A1
AI Character Portrayals
- US 2025/338980 A1
Tri-Fold Video Display
- US 2025/323845 A1
AI Call Re-Engagement
- US 2026/0020642 A1
Orthopedic Safety Boot
- US 2026/0008580 A1
Medication Container
- US 2025/041653 A1
Exercise Platform
- US 2025/387034 A1
Heart Rate Sharing
- US 2025/221384 A1
Smart Dog Collar
- US 2025/251701 A1
3D Watch Winder
- US 2025/029518 A1
Magnetic Collectible Display
- US 2025/349225 A1
Musical Instrument Layouts
- US 2025/383183 A1
Dual-Profile Mounting Rail
- US 2025/303675 A1
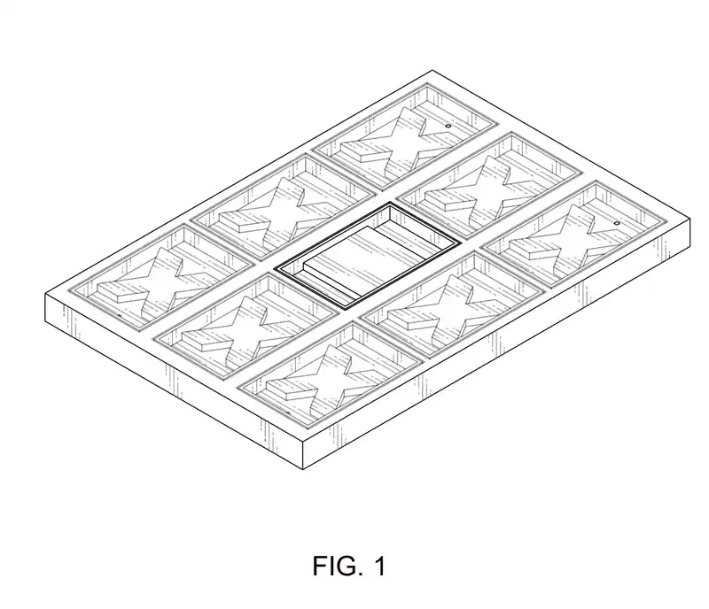
Laminated Film Assembly
- US 2025/199325 A1
VR Fragrance Device
- US 2024/374013 A1
Dual Deodorant Dispenser
- US 2026/0033580 A1
Convertible Headwear
- US 2025/316250 A1
Dynamic Audio Retrigger
Hover or tap a region to view selected publications
Selected examples only — full portfolio and client references available on request
Who Alexander IP works with
The patent industry is structurally built for large applicants with big portfolios. Alexander IP was founded to serve the people it overlooks.
Individual Inventors
You've built something worth protecting and you want expert help without the corporate overhead. Whether it's your first patent or your sixth, you get the same direct access to the specialist doing the work.
Startups & Early-Stage Companies
You need IP protection to attract investment or defend your market position, but you're not at the stage where a large firm's fees make sense. You want proper expertise at a price that reflects your reality.
Small & Medium Businesses
You've been selling a product and need to protect it, or you've received an office action and need someone to fight your corner. You want a dedicated specialist, not a different associate every time you call.
Expanding Internationally
You have granted patents and want to extend protection to new countries. You want clear advice on where it's worth filing and a single point of contact who handles everything.
If you're a large corporation looking for a firm to manage a 500-patent portfolio with a team of associates, Alexander IP probably isn't the right fit. This practice is built around personal service and direct access to the specialist doing the work — that model doesn't scale to enterprise volume, by design.
Why Alexander IP?
Traditional firms charge what they charge because of overhead: offices, partners, junior associates, account managers. At Alexander IP, the pricing comes from a different business model. The quality comes from rigorous training and 10 years of high-volume practice.
Communication You Can Actually Understand
Alexander IP explains exactly what's happening with your application, why it matters, and what your options are. No legalese, no jargon, no assumptions about what you already know. Every decision is explained in plain English.
Legal 500 Training, Lean Business Model
Founded by a specialist trained at Kilburn & Strode, a top-tier Legal 500 IP firm. The same calibre of work, without the central London office, partner profit margins, or layers of administration. The expert doing the work is the only person you deal with.
One Specialist, Start to Finish
No handoffs, no account managers, no junior associates learning on your file. Alexander IP handles every stage personally — from initial consultation through to granted patent. Many clients come back with their second, third, or sixth invention.
What Clients Say
Rated 5 stars across 800+ reviews on Fiverr
“Alexander is exceptional. His communication is clear, precise, and proactive. We didn't require a single revision, everything was done right the first time. He handled both a full non-provisional patent application and a PCT filing flawlessly, with accuracy, speed, and confidence.”
Worked with us on Fiverr? See benefits of working direct →
Tell me about your invention.
Describe what you've built and what you're trying to protect. Alexander IP will come back to you within 24–48 hours with honest advice on whether patent protection makes sense, what it would involve, and what it would cost.
If it's not something Alexander IP can help with, you'll be told — and pointed in the right direction.
































